
本发明属于农用机械技术领域,更具体地说,是涉及一种果园喷药机器人。
背景技术:
随着农业机械化进程的不断推进,各种农业机械设备也在不断完善,越来越多的农田开始进行机械化作业。目前较为快捷的农田喷药方式是采用喷药机器人,虽然能够大大提高喷药的速度,但很容易受到风力的干扰,无法实现防风喷药的效果,导致药液不能够稳定、垂直地飘落到农作物的茎叶上,不仅浪费药液,而且无法有效遏制病虫害的发生,针对这种困难,目前的解决方式是等到无风或风力较小的天气喷药,但是这常常会因错过最佳喷药时机而造成农作物的大面积减产。如何做到既能够实现机械化作业,提高作业效率,又能够避免风力对喷药效果的影响,是目前农业领域亟需解决的问题。
技术实现要素:
本发明的目的在于提供一种果园喷药机器人,旨在解决现有的喷药机器人在喷药过程中容易受到风力的干扰,无法实现防风喷药效果的问题。
为实现上述目的,本发明采用的技术方案是:提供一种果园喷药机器人,包括:
架体,底部安装有行走轮;
储药桶,固定安装在所述架体上;
喷嘴,安装在所述架体上,所述喷嘴通过管路与所述储药桶连通;
挡风板,沿竖直方向滑动设置在所述架体上,所述挡风板对称布置在所述喷嘴的两侧;和
电控驱动组件,用于驱动所述挡风板沿竖直方向靠近或远离所述喷嘴。
作为本申请另一实施例,所述电控驱动组件包括:
丝杠,转动安装在所述架体上;
滑块,与所述丝杠螺纹连接;
第一连杆,分别与所述滑块和所述挡风板铰接;和
驱动电机,固定安装在所述架体上,用于驱动所述丝杠转动;所述驱动电机借助所述第一连杆驱动所述挡风板沿竖直方向运动。
作为本申请另一实施例,所述电控驱动组件还包括:
飞轮,固定安装在所述丝杠上;和
扭簧,设置在所述飞轮和所述架体之间。
作为本申请另一实施例,所述挡风板与所述丝杠平行设置,所述挡风板上铰接有第二连杆,所述挡风板借助所述第二连杆与所述第一连杆铰接;所述第二连杆与所述挡风板的铰接轴沿所述挡风板的长度方向设置;所述架体上设有用于驱动所述挡风板摆动的驱动杆。
作为本申请另一实施例,所述挡风板上设有与所述驱动杆滑动配合的导向滑槽,所述驱动杆的端部设有驱动槽,所述挡风板上对应设有与所述驱动槽滑动配合的驱动面。
作为本申请另一实施例,果园喷药机器人还包括:
风扇,转动安装在所述架体上;
导电内环,固定安装在所述风扇的转动轴上;
导电外环,固定安装在所述架体上,所述导电外环套设在所述导电内环的外侧且与所述导电内环同轴设置;和
导电弹片,一端固定在所述导电内环的外壁上,所述导电弹片位于所述导电内环和所述导电外环形成的环形腔体内;
所述导电内环和所述导电外环分别与所述电控驱动组件电连接;所述风扇借助风力带动所述导电内环转动,所述导电弹片在离心力的作用下与所述导电外环的内壁接触,实现所述电控驱动组件的电路导通。
作为本申请另一实施例,所述导电弹片的自由端设有配重件。
作为本申请另一实施例,所述导电弹片的数量为多个,沿所述导电内环的周向布置。
作为本申请另一实施例,相邻两个所述导电弹片的自由端相互背离或靠近。
作为本申请另一实施例,所述架体的侧面设有支撑臂,所述喷嘴固定安装在所述支撑臂上,所述支撑臂的内部设有用于容纳所述管路的空腔。
本发明提供的一种果园喷药机器人的有益效果在于:与现有技术相比,本发明一种果园喷药机器人,通过电控驱动组件驱动挡风板向下运动至喷嘴的两侧,从而使喷嘴处于无风环境中,消除了风力对喷药效果的影响,使药液能够稳定、垂直的飘落到农作物的茎叶上;当外界环境良好(无风或风力较小)时,电控驱动组件驱动挡风板向上运动,从而消除挡风板对喷嘴的遮挡。
附图说明
为了更清楚地说明本发明实施例中的技术方案,下面将对实施例或现有技术描述中所需要使用的附图作简单地介绍,显而易见地,下面描述中的附图仅仅是本发明的一些实施例,对于本领域普通技术人员来讲,在不付出创造性劳动的前提下,还可以根据这些附图获得其他的附图。
图1为本发明实施例提供的一种果园喷药机器人的结构示意图;
图2为图1中的a处放大示意图;
图3为沿图2中c-c线的剖视结构图;
图4为沿图2中d-d线的剖视结构图;
图5为图1中的b处放大示意图;
图6为沿图5中e-e线的剖视结构图。
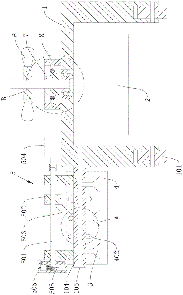
图中:1、架体;101、行走轮;102、驱动杆;103、驱动槽;104、支撑臂;105、空腔;2、储药桶;3、喷嘴;4、挡风板;401、第二连杆;402、导向滑槽;403、驱动面;5、电控驱动组件;501、丝杠;502、滑块;503、第一连杆;504、驱动电机;505、飞轮;506、扭簧;6、风扇;7、导电内环;8、导电外环;801、环形凹槽;9、导电弹片;901、配重件。
具体实施方式
为了使本发明所要解决的技术问题、技术方案及有益效果更加清楚明白,以下结合附图及实施例,对本发明进行进一步详细说明。应当理解,此处所描述的具体实施例仅仅用以解释本发明,并不用于限定本发明。
请参阅图1,现对本发明提供的一种果园喷药机器人进行说明。所述一种果园喷药机器人,包括:架体1、储药桶2、喷嘴3、挡风板4和电控驱动组件5。架体1底部安装有行走轮101;储药桶2固定安装在架体1上;喷嘴3安装在架体1上,喷嘴3通过管路与储药桶2连通;挡风板4沿竖直方向滑动设置在架体1上,挡风板4对称布置在喷嘴3的两侧;电控驱动组件5用于驱动挡风板4沿竖直方向靠近或远离喷嘴3。
本发明提供的一种果园喷药机器人,与现有技术相比,通过电控驱动组件5驱动挡风板4向下运动至喷嘴3的两侧,从而使喷嘴3处于无风环境中,消除了风力对喷药效果的影响,使药液能够稳定、垂直的飘落到农作物的茎叶上;当外界环境良好(无风或风力较小)时,电控驱动组件5驱动挡风板4向上运动,从而消除挡风板4对喷嘴3的遮挡。
作为本发明提供的一种果园喷药机器人的一种具体实施方式,请参阅图1,电控驱动组件5包括:丝杠501、滑块502、第一连杆503和驱动电机504。丝杠501转动安装在架体1上;滑块502与丝杠501螺纹连接;第一连杆503分别与滑块502和挡风板4铰接;驱动电机504固定安装在架体1上,用于驱动丝杠501转动;驱动电机504借助第一连杆503驱动挡风板4沿竖直方向运动。本实施例中,丝杠501沿水平方向设置。驱动电机504通过联轴器与丝杠501的端部连接。第一连杆503的数量为两个,分别位于滑块502的两侧,第一连杆503与挡风板4的位置相对应,第一连杆503与挡风板4的铰接轴与挡风板4的长度方向垂直。驱动电机504带动丝杠501绕丝杠501的轴线转动,从而驱动滑块502在丝杠501上沿直线运动。由于架体1限制了挡风板4在水平方向运动的自由度,所以在第一连杆503的作用下,将滑块502沿水平方向的运动转变为挡风板4沿竖直方向的运动。
作为本发明提供的一种果园喷药机器人的一种具体实施方式,请参阅图1,电控驱动组件5还包括:飞轮505和扭簧506。飞轮505固定安装在丝杠501上;扭簧506设置在飞轮505和架体1之间。本实施例中,飞轮505固定安装在丝杠501的端部,架体1上设有罩设在飞轮505外侧的壳体。扭簧506套设在丝杠501上,扭簧506的一端固定在壳体的内侧壁上,另一端固定在飞轮505的侧壁上。丝杠501在转动的过程中会带动飞轮505同步转动,从而将电控驱动组件5的能量转化为飞轮505的动能,实现对该电控驱动组件5的缓冲减震,避免挡风板4对架体1造成较大的冲击,实现对挡风板4和架体1起到了保护作用;并且在该电控驱动组件5带动挡风板4上升过程中,飞轮505通过释放动能为丝杠501提供部分转动的动力,避免了能源的浪费。
作为本发明提供的一种果园喷药机器人的一种具体实施方式,请参阅图1至图3,挡风板4与丝杠501平行设置,挡风板4上铰接有第二连杆401,挡风板4借助第二连杆401与第一连杆503铰接;第二连杆401与挡风板4的铰接轴沿挡风板4的长度方向设置;架体1上设有用于驱动挡风板4摆动的驱动杆102。本实施例中,第二连杆401两端的铰接轴均沿水平方向设置,且两个铰接轴相互垂直。驱动杆102位于挡风板4的内侧。当滑块502借助第一连杆503和第二连杆401驱动挡风板4向下运动时,挡风板4在驱动杆102的作用下向外摆动,从而使两个挡风板4围成的腔体自上而下逐渐增大,能够为喷嘴3提供足够的容纳空间,同时药液能够喷洒到更广的区域内;当滑块502借助第一连杆503和第二连杆401驱动挡板向上运动时,挡风板4在驱动杆102的作用下向内侧摆动,即两个挡风板4相互靠近,从而减小了挡风板4所占用的空间,实现了对挡风板4的收纳。
作为本发明提供的一种果园喷药机器人的一种具体实施方式,请参阅图1至图4,挡风板4上设有与驱动杆102滑动配合的导向滑槽402,驱动杆102的端部设有驱动槽103,挡风板4上对应设有与驱动槽103滑动配合的驱动面403。本实施例中,导向滑槽402的数量为两个,对称布置在挡风板4上。导向滑槽402的长度方向与挡风板4的长度方向垂直。挡风板4借助驱动杆102与导向滑槽402的滑动配合,限制了挡风板4沿水平方向的移动。驱动槽103的长度尺寸大于挡风板4的厚度尺寸,且驱动槽103与驱动面403呈夹角设置。驱动杆102借助驱动槽103与驱动面403的滑动配合,带动挡风板4绕其与第二连杆401的铰接轴摆动。
作为本发明提供的一种果园喷药机器人的一种具体实施方式,请参阅图1及图5,果园喷药机器人还包括:风扇6、导电内环7、导电外环8和导电弹片9。风扇6转动安装在架体1上;导电内环7固定安装在风扇6的转动轴上;导电外环8固定安装在架体1上,导电外环8套设在导电内环7的外侧且与导电内环7同轴设置;导电弹片9的一端固定在导电内环7的外壁上,导电弹片9位于导电内环7和导电外环8形成的环形腔体内;导电内环7和导电外环8分别与电控驱动组件5电连接;风扇6借助风力带动导电内环7转动,导电弹片9在离心力的作用下与导电外环8的内壁接触,实现电控驱动组件5的电路导通。本实施例中,风扇6安装在架体1的顶部,风扇6的转动轴沿竖直方向设置。导电内环7和导电外环8分别与驱动电机504电连接。导电弹片9为弧形件,当导电弹片9不受力时,导电弹片9的开口朝向导电内环7的一侧。风扇6在风力的作用下发生转动,导电弹片9的离心力随着导电内环7的转速增大而增大,导电弹片9的自由端在离心力的作用下逐渐远离导电内环7,并向靠近导电外环8的内壁一侧移动。当风力达到预设值时,导电弹片9的自由端抵靠在导电外环8的内壁上,从而实现驱动电机504的电路导通,进而驱动挡风板4向下运动至喷嘴3的两侧;当风力减小至低于预设值时,导电弹片9的离心力随之减小,从而使导电弹片9与导电外环8的内壁分离,驱动电机504的电路断开,此时飞轮505储存的动能释放,驱动丝杠501反向转动,从而实现挡风板4的升起。
作为本发明提供的一种果园喷药机器人的一种具体实施方式,请参阅图5至图6,导电弹片9的自由端设有配重件901。本实施例中,配重件901为球形件,具有良好的导电性。配重件901转动安装在导电弹片9上,配重件901的转动轴与导电内环7的轴向平行。由于配重件901与导电弹片9为分体结构,所以可以通过更换不同重量的配重件901来改变导电弹片9所受到的离心力大小,使驱动电机504的电路通断与对应风力大小相匹配。当驱动电机504的电路导通时,导电弹片9随导电内环7转动的同时,导电弹片9的自由端在导电外环8的内壁滑动,这样就会对导电弹片9和导电外环8造成磨损。由于在导电弹片9上安装了配重件901,并且配重件901与导电弹片9转动连接,所以配重件901将导电弹片9与导电外环8之间的滑动摩擦转变为滚动摩擦,从而降低了导电弹片9与导电外环8之间的磨损。导电外环8的内壁上设有与配重件901相匹配的环形凹槽801,导电外环8借助环形凹槽801对配重件901起到导向和限位作用,保证了配重件901在导电外环8上运动时的相对稳定,同时对配重件901起到了一定的支撑作用,防止导电弹片9在配重件901的重力作用下发生弯折变形。
作为本发明提供的一种果园喷药机器人的一种具体实施方式,请参阅图5至图6,导电弹片9的数量为多个,沿导电内环7的周向布置。本实施例中,导电弹片9沿导电内环7的周向均匀布置。导电内环7带动导电弹片9运动过程中,多个导电弹片9对导电内环7施加作用力,保证导电内环7的受力更加平衡。多个导电弹片9在离心力的作用下均与导电外环8的内壁接触,即使其中一个导电弹片9与导电外环8接触不良,其他导电弹片9仍然能够实现驱动电机504的电路导通,保证驱动组件的正常运动。
作为本发明提供的一种果园喷药机器人的一种具体实施方式,请参阅图5至图6,相邻两个导电弹片9的自由端相互背离或靠近。本实施例中,由于风向的不同,所以导电内环7有可能沿顺时针方向转动,也有可能沿逆时针方向转动。但不管导电内环7沿哪个方向转动,总有一部分导电弹片9的自由端在离心力的作用下向靠近导电外环8的内壁一侧移动并抵靠在导电外环8的内壁上;而另一部分导电弹片9的自由端则会抵靠在导电内环7的外壁上。
作为本发明提供的一种果园喷药机器人的一种具体实施方式,请参阅图1至图4,架体1的侧面设有支撑臂104,喷嘴3固定安装在支撑臂104上,支撑臂104的内部设有用于容纳管路的空腔105。本实施例中,支撑臂104通过紧固件安装在架体1的一侧。喷嘴3的数量为多个,沿支撑臂104的长度方向均匀布置。通过在支撑臂104上设置容纳管路的空腔105,起到了保护管路的作用,有效延长了管路的使用寿命。
以上所述仅为本发明的较佳实施例而已,并不用以限制本发明,凡在本发明的精神和原则之内所作的任何修改、等同替换和改进等,均应包含在本发明的保护范围之内。
想要进行版权登记、专利购买,商标买卖的相关服务,就来大鱼知产进行详细了解,更多专业知识与专业人士将为您服务到底,想要更快的了解版权登记、专利购买,商标买卖相关问题,我们来帮您。热线电话:13018202357,客服微信(13018202357)
以上就是大鱼知产平台为各位讲解的有关
一种果园喷药机器人的制作方法
的介绍,相信各位对于商标申请注销的流程中需要注意和了解的事项,可以有一定的认识,若各位还想要了解更多有关专利行业资讯
的问题,欢迎到大鱼知产平台进行相关问题咨询吧!