
本实用新型涉及花盆相关技术领域,具体为一种能够拆分组装的分体式多花盆组合结构。
背景技术:
目前,人们对绿化十分重视,树木和花卉可以对空气进行净化,而花盆是一种用来种植绿植和花卉幼苗的器皿,被广泛应用在园林、小区等绿化中,分体式花盆是其中一种,可以将多个花盆组合在一起使用。
但是,一般的分体式多花盆组合结构,不方便拆分组装,不便于将花卉从花盆中取出,不容易对水进行循环利用,花盆内容易存有多余的水,本实用新型的目的在于提供一种能够拆分组装的分体式多花盆组合结构,以解决上述背景技术提出的问题。
技术实现要素:
本实用新型的目的在于提供一种能够拆分组装的分体式多花盆组合结构,以解决上述背景技术中提出的大多数分体式多花盆组合结构,不方便拆分组装,且不便于将花卉从花盆中取出,并且不容易对水进行循环利用,花盆内容易存有多余的水的问题。
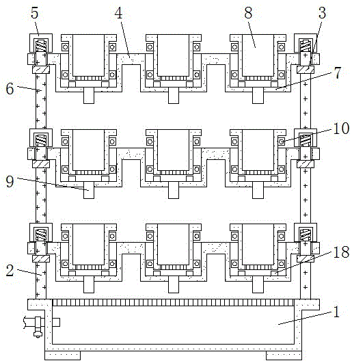
为实现上述目的,本实用新型提供如下技术方案:一种能够拆分组装的分体式多花盆组合结构,包括水箱、水泵和限位槽,所述水箱的上端焊接连接有第一支撑杆,且第一支撑杆的中上端焊接连接有连接块,所述第一支撑杆的贯穿连接在承载板的内部,且第一支撑杆的顶端活动连接有连接盖,并且连接盖的上端固定连接有第二支撑杆,所述承载板的下端固定连接有连接框,且承载板上放置有花盆本体,并且花盆本体的外端焊接连接有安装块,所述连接框的内部下端焊接连接有凸块,且连接框的底端中心位置设置有排水管,所述水箱的上端螺栓连接有水泵,且水泵的左端螺栓连接有抽水管,所述水泵的上端螺栓连接有第一连接管,且第一连接管的上端固定连接有第二连接管,所述第二连接管的外端安装有浇水管,所述限位槽开设在后端的花盆本体上,且限位块固定连接在前端的花盆本体上。
优选的,所述水箱的上端为镂空状结构,且第一支撑杆关于水箱的横向中轴线左右对称设置,并且第一支撑杆与第二支撑杆的上端外表面均为螺纹状结构。
优选的,所述承载板上等间距设置有花盆本体,且花盆本体与连接框的位置相对应,并且凸块关于花盆本体的中心等角度设置在连接框上。
优选的,所述花盆本体单体之间的连接方式为螺栓连接,且花盆本体的底端为多孔状结构,并且花盆本体内端连接的限位块与限位槽的连接方式为卡合连接。
优选的,所述排水管与连接框的连接方式为螺纹连接,且连接框单体之间通过排水管构成连通结构。
优选的,所述浇水管与上端的花盆本体一一对应,且浇水管的纵截面形状为“l”字型,并且水箱、抽水管、第二连接管和浇水管依次构成连通结构。
与现有技术相比,本实用新型的有益效果是:该能够拆分组装的分体式多花盆组合结构,能够拆分组装,且便于将花卉从花盆中取出,并且容易对水进行循环利用,避免花盆内存有多余的水;
1、设有第一支撑杆和第二支撑杆,第一支撑杆与第二支撑杆的上端外表面均为螺纹状结构,使得承载板分别贯穿在第一支撑杆和第二支撑杆上,连接盖安装在第一支撑杆与第二支撑杆的上端,方便对承载板进行限位,从而能够对承载板进行拆卸组装;
2、设有安装块与限位块,花盆本体单体之间的结构设计,限位块与限位槽卡合连接,使得螺栓从而安装块上取出后,限位块可以从限位槽内脱离,从而使得花盆本体单体之间可以分离,便于将花卉从花盆本体内取出;
3、设有第二支撑杆和浇水管,花盆本体的底端为多孔状结构,使得花盆本体内多余的水进入连接框的内部,连接框单体之间的结构设计,使得连接框内的水通过排水管进入水箱的内部,水箱与浇水管的结构设计,使得水箱内的水通过浇水管浇在花盆本体内,对水进行循环利用。
附图说明
图1为本实用新型正视剖面结构示意图;
图2为本实用新型左侧视结构示意图;
图3为本实用新型限位块与限位槽连接俯视剖面结构示意图;
图4为本实用新型浇水管与第二连接管连接俯视结构示意图。
图中:1、水箱;2、第一支撑杆;3、连接块;4、承载板;5、连接盖;6、第二支撑杆;7、连接框;8、花盆本体;9、排水管;10、安装块;11、水泵;12、抽水管;13、第一连接管;14、第二连接管;15、浇水管;16、限位块;17、限位槽;18、凸块。
具体实施方式
下面将结合本实用新型实施例中的附图,对本实用新型实施例中的技术方案进行清楚、完整地描述,显然,所描述的实施例仅仅是本实用新型一部分实施例,而不是全部的实施例,基于本实用新型中的实施例,本领域普通技术人员在没有做出创造性劳动前提下所获得的所有其他实施例,都属于本实用新型保护的范围。
请参阅图1-4,本实用新型提供一种技术方案:一种能够拆分组装的分体式多花盆组合结构,包括水箱1、第一支撑杆2、连接块3、承载板4、连接盖5、第二支撑杆6、连接框7、花盆本体8、排水管9、安装块10、水泵11、抽水管12、第一连接管13、第二连接管14、浇水管15、限位块16、限位槽17和凸块18,水箱1的上端焊接连接有第一支撑杆2,且第一支撑杆2的中上端焊接连接有连接块3,第一支撑杆2的贯穿连接在承载板4的内部,且第一支撑杆2的顶端活动连接有连接盖5,并且连接盖5的上端固定连接有第二支撑杆6,承载板4的下端固定连接有连接框7,且承载板4上放置有花盆本体8,并且花盆本体8的外端焊接连接有安装块10,连接框7的内部下端焊接连接有凸块18,且连接框7的底端中心位置设置有排水管9,水箱1的上端螺栓连接有水泵11,且水泵11的左端螺栓连接有抽水管12,水泵11的上端螺栓连接有第一连接管13,且第一连接管13的上端固定连接有第二连接管14,第二连接管14的外端安装有浇水管15,限位槽17开设在后端的花盆本体8上,且限位块16固定连接在前端的花盆本体8上。
如图1和图2中水箱1的上端为镂空状结构,且第一支撑杆2关于水箱1的横向中轴线左右对称设置,并且第一支撑杆2与第二支撑杆6的上端外表面均为螺纹状结构,水箱1上端的镂空状结构可以避免杂质进入水箱1的内部,使得第一支撑杆2对下端的承载板4稳定支撑,第一支撑杆2与第二支撑杆6的上端均可以与连接盖5相连接,排水管9与连接框7的连接方式为螺纹连接,且连接框7单体之间通过排水管9构成连通结构,排水管9可以从连接框7的下端拆卸下来,上下两端的连接框7通过排水管9相连通;
如图1和图3中花盆本体8单体之间的连接方式为螺栓连接,且花盆本体8的底端为多孔状结构,并且花盆本体8内端连接的限位块16与限位槽17的连接方式为卡合连接,花盆本体8单体之间可以安装拆卸,花盆本体8底端的多孔状结构使得多余的水进入连接框7内,避免泥土进入连接框7内,限位块16卡合在限位槽17内,使得花盆本体8安装更加牢固;
如图2和图如图1和图4中承载板4上等间距设置有花盆本体8,且花盆本体8与连接框7的位置相对应,并且凸块18关于花盆本体8的中心等角度设置在连接框7上,承载板4的上端均匀放置有多组花盆本体8每个花盆本体8的下端对应有连接框7,凸块18对花盆本体8的下端进行支撑,避免花盆本体8的下端与连接框7的底端相接触;
如图4中浇水管15与上端的花盆本体8一一对应,且浇水管15的纵截面形状为“l”字型,并且水箱1、抽水管12、第二连接管14和浇水管15依次构成连通结构,浇水管15对上端的所有花盆本体8进行浇水,便于浇水管15内的水完全喷洒在花盆本体8内,水箱1内的水通过抽水管12和第一连接管13进入第二连接管14内,从第二连接管14内进入到浇水管15的内部。
工作原理:在使用该能够拆分组装的分体式多花盆组合结构时,结合图1和图2,将下端的承载板4卡合在对应的第一支撑杆2内,通过连接块3对承载板4进行支撑,将连接盖5螺纹连接在第一支撑杆2的上端,让承载板4卡合在第二支撑杆6上,将连接盖5螺纹连接在第二支撑杆6的上端,通过连接盖5进行限位,从而将承载板4组装在一起;
结合图1、图2和图4,将花盆本体8等间距放置在承载板4上,使得花盆本体8的下端与凸块18相接触,需要浇水时,水泵11工作通过抽水管12将水箱1内部的水抽到第一连接管13和第二连接管14内,水从第二连接管14内流到浇水管15内,通过浇水管15对上端的花盆本体8进行浇水,花盆本体8内多余的水通过花盆本体8底端的多孔状结构进入连接框7的内部,连接框7内部的水通过排水管9流到中端和下端的花盆本体8内进行浇水,下端连接框7内多余的水则通过排水管9落在水箱1的内部,对水进行循环利用,水箱1的上端为镂空状结构,避免杂质进入水箱1的内部;
结合图1和图3,花盆本体8内的花卉需要取出时,将花盆本体8从承载板4上取出,将安装块10上的螺栓取出,向外端拉动花盆本体8,使得限位块16与限位槽17分离,从而将花盆本体8单体之间分离,便于取出花盆本体8内部的花卉,这就是该能够拆分组装的分体式多花盆组合结构的工作原理。
本实用新型使用到的标准零件均可以从市场上购买,异形件根据说明书的和附图的记载均可以进行订制,各个零件的具体连接方式均采用现有技术中成熟的螺栓、铆钉、焊接等常规手段,机械、零件和设备均采用现有技术中,常规的型号,加上电路连接采用现有技术中常规的连接方式,在此不再详述,本说明书中未作详细描述的内容属于本领域专业技术人员公知的现有技术。
尽管参照前述实施例对本实用新型进行了详细的说明,对于本领域的技术人员来说,其依然可以对前述各实施例所记载的技术方案进行修改,或者对其中部分技术特征进行等同替换,凡在本实用新型的精神和原则之内,所作的任何修改、等同替换、改进等,均应包含在本实用新型的保护范围之内。
想要进行版权登记、专利购买,商标买卖的相关服务,就来大鱼知产进行详细了解,更多专业知识与专业人士将为您服务到底,想要更快的了解版权登记、专利购买,商标买卖相关问题,我们来帮您。热线电话:13018202357,客服微信(13018202357)
以上就是大鱼知产平台为各位讲解的有关
一种能够拆分组装的分体式多花盆组合结构的制作方法
的介绍,相信各位对于商标申请注销的流程中需要注意和了解的事项,可以有一定的认识,若各位还想要了解更多有关专利行业资讯
的问题,欢迎到大鱼知产平台进行相关问题咨询吧!