
本实用新型涉及蛋鸡饲料上料领域,更具体地说,涉及一种蛋鸡饲料上料机。
背景技术:
上料机是现代化工、制药、食品、冶金、建材、农副等各轻、重工业等必须配套的设备之一,他提供了工作效率,运输精确,质量可靠坚久耐用,并且在送料过程中原料完全不受潮,不受污染,不带异物,不漏失,实现送料过程自运化,避免高空加料的危险性,降低劳动强度,提高生产效率,是现代企业文明生产必备之一。
在蛋鸡养殖行业,蛋鸡鸡舍采用多层建筑,鸡饲料槽也是按层设计排布的,手工添加饲料费工费力,劳动强度大,工作效率低,还会造成饲料的大量浪费,同时手工添加饲料时,饲喂量无法控制,造成蛋鸡的生长情况不同,影响蛋鸡产蛋量。对于现代化鸡舍,有采用大型自动上料设备的,大都体积较大且结构复杂,用于一般的鸡舍,受到鸡舍条件和制造成本限制,普及难度较;
但现有的蛋鸡饲料上料机不便于对上料过程中掉落的物料进行收集,导致物料的浪费。
技术实现要素:
1.要解决的技术问题
针对现有技术中存在的问题,本实用新型的目的在于提供一种蛋鸡饲料上料机,它方便对上料过程中掉落的物料进行收集,防止物料的浪费。
2.技术方案
为解决上述问题,本实用新型采用如下的技术方案。
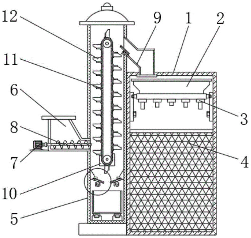
一种蛋鸡饲料上料机,包括喂食装置,喂食装置内部安装固定有存料箱,所述存料箱的底部设置有出料口,所述出料口的下侧设置有防护网,所述喂食装置的左侧固定安装有上料箱,所述上料箱的左侧中部设置有进料口,所述进料口的左侧固定安装有第一驱动电机,所述第一驱动电机的输出端连接有导送轴,所述上料箱的右上侧设置有排料口,所述排料口的末端下侧连接有存料箱,所述上料箱的内部固定安装有第二驱动电机,所述第二驱动电机的输出端通过输出轴连接有传动链条,所述传动链条的外侧固定安装有导送箱,所述第二驱动电机的下侧设置有残料收集机构,所述残料收集机构包括固定块,所述固定块的内部连接有导送面板,所述导送面板的上表面开设有导送槽,所述导送面板的下侧固定安装有驱动马达,所述驱动马达的输出端转动连接有输出轴,所述输出轴的前端固定安装有震动块,所述震动块的下侧设置有集料箱。
进一步的,所述导送轴的外表面呈螺旋状结构,且导送轴在进料口的内部构转动结构,方便物料的导送。
进一步的,所述传动链条在上料箱的内部构成传动结构,且导送箱在传动链条的外侧均匀分布,方便物料的提升。
进一步的,所述导送面板与固定块构成转动结构,且导送槽在导送面板的上表面呈“v”字形设置,并且导送面板关于上料箱的中心轴线对称设置,方便导送掉落的物料。
进一步的,所述输出轴与震动块呈偏心设置,且震动块的纵截面呈椭圆形状结构,方便导送面板的转动。
3.有益效果
相比于现有技术,本实用新型的优点在于
(1)本方案方便对上料过程中掉落的物料进行收集,防止物料的浪费。
(2)导送轴的外表面呈螺旋状结构,且导送轴在进料口的内部构转动结构,方便物料的导送。
(3)传动链条在上料箱的内部构成传动结构,且导送箱在传动链条的外侧均匀分布,方便物料的提升。
(4)导送面板与固定块构成转动结构,且导送槽在导送面板的上表面呈“v”字形设置,并且导送面板关于上料箱的中心轴线对称设置,方便导送掉落的物料。
(5)输出轴与震动块呈偏心设置,且震动块的纵截面呈椭圆形状结构,方便导送面板的转动。
附图说明
图1为本实用新型的正视剖面结构示意图;
图2为本实用新型的图1中a处放大结构示意图;
图3为本实用新型的导送面板和震动块连接侧视结构示意图;
图4为本实用新型的导送面板和导送槽连接侧视整体结构示意图。
图中标号说明:
1、喂食装置;2、存料箱;3、出料口;4、防护网;5、上料箱;6、进料口;7、第一驱动电机;8、导送轴;9、排料口;10、第二驱动电机;11、传动链条;12、导送箱;13、残料收集机构;1301、固定块;1302、导送面板;1303、导送槽;1304、驱动马达;1305、输出轴;1306、震动块;1307、集料箱。
具体实施方式
下面将结合本实用新型实施例中的附图,对本实用新型实施例中的技术方案进行清楚、完整地描述;显然,所描述的实施例仅仅是本实用新型一部分实施例,而不是全部的实施例,基于本实用新型中的实施例,本领域普通技术人员在没有做出创造性劳动前提下所获得的所有其他实施例,都属于本实用新型保护的范围。
在本实用新型的描述中,需要说明的是,术语“上”、“下”、“内”、“外”、“顶/底端”等指示的方位或位置关系为基于附图所示的方位或位置关系,仅是为了便于描述本实用新型和简化描述,而不是指示或暗示所指的装置或元件必须具有特定的方位、以特定的方位构造和操作,因此不能理解为对本实用新型的限制。此外,术语“第一”、“第二”仅用于描述目的,而不能理解为指示或暗示相对重要性。
在本实用新型的描述中,需要说明的是,除非另有明确的规定和限定,术语“安装”、“设置有”、“套设/接”、“连接”等,应做广义理解,例如“连接”,可以是固定连接,也可以是可拆卸连接,或一体地连接;可以是机械连接,也可以是电连接;可以是直接相连,也可以通过中间媒介间接相连,可以是两个元件内部的连通。对于本领域的普通技术人员而言,可以具体情况理解上述术语在本实用新型中的具体含义。
实施例1:
请参阅图1-4,一种蛋鸡饲料上料机,包括喂食装置1,喂食装置1内部安装固定有存料箱2,存料箱2的底部设置有出料口3,出料口3的下侧设置有防护网4,喂食装置1的左侧固定安装有上料箱5,上料箱5的左侧中部设置有进料口6,进料口6的左侧固定安装有第一驱动电机7,第一驱动电机7的输出端连接有导送轴8,上料箱5的右上侧设置有排料口9,排料口9的末端下侧连接有存料箱2,上料箱5的内部固定安装有第二驱动电机10,第二驱动电机10的输出端通过输出轴连接有传动链条11,传动链条11的外侧固定安装有导送箱12,第二驱动电机10的下侧设置有残料收集机构13,残料收集机构13包括固定块1301,固定块1301的内部连接有导送面板1302,导送面板1302的上表面开设有导送槽1303,导送面板1302的下侧固定安装有驱动马达1304,驱动马达1304的输出端转动连接有输出轴1305,输出轴1305的前端固定安装有震动块1306,震动块1306的下侧设置有集料箱1307。
请参阅图1-2,导送轴8的外表面呈螺旋状结构,且导送轴8在进料口6的内部构转动结构,方便物料的导送。传动链条11在上料箱5的内部构成传动结构,且导送箱12在传动链条11的外侧均匀分布,方便物料的提升。
请参阅图3-4,导送面板1302与固定块1301构成转动结构,且导送槽1303在导送面板1302的上表面呈“v”字形设置,并且导送面板1302关于上料箱5的中心轴线对称设置,方便导送掉落的物料。输出轴1305与震动块1306呈偏心设置,且震动块1306的纵截面呈椭圆形状结构,方便导送面板1302的转动。
请参阅图1-2,使用时,首先将上料箱5放置在喂食装置1的左侧,并将物料放置在进料口6,并在第一驱动电机7的作用下,使得外表面呈螺旋状结构的导送轴8发生转动,导送轴8的转动方便将物料导送至导送箱12的内部,并伴随着传动链条11的传动,方便将物料通过排料口9投放至存料箱2的内部,并在出料口3的作用下,方便落入至喂食装置1的内部,方便蛋鸡的进食;
在导送箱12的上料的过程中,难免会掉落物料,物料落入至导送面板1302上表面开设的导送槽1303的内部,并在驱动马达1304的作用下,方便输出轴1305发生转动,输出轴1305与震动块1306偏心设置,从而在震动块1306的作用下,使得导送面板1302与固定块1301发生转动,伴随着导送面板1302的震动作用下,方便讲物料导送至集料箱1307的内部,方便起到物料收集的作用,以上便完成该蛋鸡饲料上料机的一系列操作,它方便对上料过程中掉落的物料进行收集,防止物料的浪费。
所述以上,仅为本实用新型较佳的具体实施方式;但本实用新型的保护范围并不局限于此。任何熟悉本技术领域的技术人员在本实用新型揭露的技术范围内,根据本实用新型的技术方案及其改进构思加以等同替换或改变,都应涵盖在本实用新型的保护范围内。
想要进行版权登记、专利购买,商标买卖的相关服务,就来大鱼知产进行详细了解,更多专业知识与专业人士将为您服务到底,想要更快的了解版权登记、专利购买,商标买卖相关问题,我们来帮您。热线电话:13018202357,客服微信(13018202357)
以上就是大鱼知产平台为各位讲解的有关
一种蛋鸡饲料上料机的制作方法
的介绍,相信各位对于商标申请注销的流程中需要注意和了解的事项,可以有一定的认识,若各位还想要了解更多有关专利行业资讯
的问题,欢迎到大鱼知产平台进行相关问题咨询吧!